GBU810 GBU808 GBU806 整流桥单排插件薄扁桥 PY/平伟
GBU810 GBU808 GBU806 整流桥单排插件薄扁桥 PY/平伟
产品价格:¥1.2(人民币)
  • 规格:GBU810 GBU808 GBU806
  • 发货地:四川成都市
  • 品牌:
  • 最小起订量:1只
  • 免费会员
    会员级别:试用会员
    认证类型:企业认证
    企业证件:通过认证

    商铺名称:四川华芯高工电子有限公司

    联系人:(先生)

    联系手机:

    固定电话:

    企业邮箱:hxggdz@sina.com

    联系地址:四川 成都市 青羊区 西大街84号1-1幢15层1506号

    邮编:

    联系我时,请说是在地方电气网上看到的,谢谢!

    商品详情

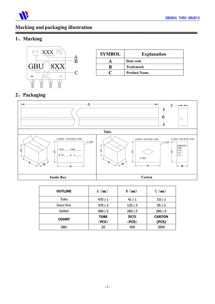
               PY/平伟 原厂原装全新正品整流桥:GBU816、GBU812、GBU810、GBU808、GBU806、GBU804;最大正向平均整流电流IF:8A;最大正向峰值抗浪涌电流IFSM:200A;最大反向峰值电压VRRM:1200V~600V;正向压降VF:1.05V;反向漏电流IR:5ua;芯片工作储存结温:-55℃~150℃;安装封装方式:GBU-4 : 22.3*3.6*18.8mm。



              本品采用内置GPP玻璃钝化工艺大尺寸芯片,具有适应高电压大电流大功率等电气特性特点,插件针脚式引脚安装简单方便,环氧树脂封胶导热效率高自散热好,单排薄扁体积大功率整流桥堆GBU816、GBU812,GBU810,GBU808,GBU806,GBU804。



              本产品可通用于电源、电器、充电器、适配器、伺服马达电机、车用充电器/充电桩、工业控制、医疗设备、体育健康器具、工业特种电源、高频电源、新能源风电光伏储能、变频器、逆变器、电焊机、电梯控制等电子产品电路中作交直流整流、钳位、防反接、防回流等功能使用。


    0571-87774297